首页 > 新闻中心 > 社会

“嘎子哥”谢孟伟新增2条被执行人信息,此前因穿警服直播带货被行拘

来源: 紫牛新闻

2025-10-13 19:55:00

近日,扬子晚报/紫牛新闻记者注意到,“嘎子哥”谢孟伟新增2条被执行人信息。

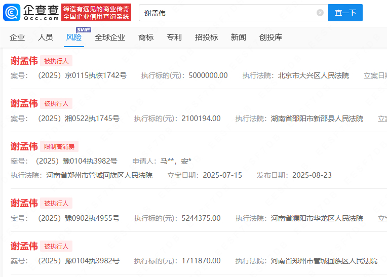
企查查App显示,近期,谢孟伟与妻子郭珊珊被湖南省邵阳市新邵县人民法院执行约210万元,谢孟伟与郭珊珊、林某某、祖某某被北京市大兴区人民法院恢复执行500万元,执行标的合计710万余元。

 图源企查查

值得注意的是,此前,谢孟伟与祖某某被河南省濮阳市华龙区人民法院执行约524万元;谢孟伟因民间借贷纠纷被河南省郑州市管城回族区人民法院执行约171万元,并被限制高消费。

据扬子晚报/紫牛新闻此前报道,今年9月,“嘎子谢孟伟”身穿警察制式服装直播带货一事曾引发广泛关注。

据了解,有网友在观看“嘎子谢孟伟”的直播时发现,其身着人民警察制式服装带货,于是向事发地警方报警。“嘎子谢孟伟”随后通过其社交账号发布道歉声明称,其在社交平台发布的视频有身着警服的画面,这些服装都是剧组拍摄专用戏服。

9月17日,云南省临沧市耿马傣族佤族自治县公安局发布警情通报称,谢某某(即谢孟伟)在拍摄电影休息期间,身着带有明显警用标志的服装直播带货,造成不良社会影响。根据《中华人民共和国人民警察法》第三十六条规定,我局依法对谢某某处以行政拘留7日。

警情通报

见习记者 鲁玥

校对 胡妍璐