首页 > 新闻中心 > 财汇

累计执行标的超1400万被限高 “小兵张嘎”再成被执行人

来源: 紫牛新闻

2025-10-14 17:59:00

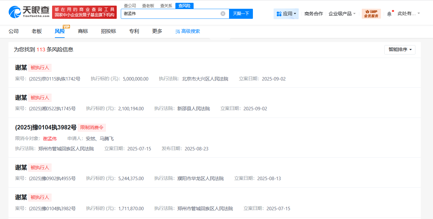
因“小兵张嘎”一角为人熟知的演员谢孟伟,近期再添财务风波。天眼查数据显示,他与其妻子郭珊珊等人新增两条被执行人信息,执行标的合计710万余元。这已是其今年第三度被列为被执行人,累计执行标的额已超过1400万元,并已被法院采取限制高消费措施。

小兵张嘎剧照。

财务风波发酵,累计执行标的逾千万

天眼查App最新信息显示,谢孟伟(嘎子哥)近期新增2条被执行人信息,执行标的合计高达710万余元。案件分别由北京市大兴区人民法院和湖南省邵阳市新邵县人民法院负责执行。值得注意的是,其妻子郭珊珊也一同被列为被执行人。

演员谢孟伟。

这并非谢孟伟今年首次陷入债务纠纷。回溯今年,其财务问题已多次曝光:8月,他曾因其他案件被执行524万余元;7月,他因一起民间借贷纠纷案件,被执行171万余元,并被北京市大兴区人民法院采取限制高消费措施。

经统计,仅在今年下半年,谢孟伟作为被执行人的累计标的金额已超过1400万元人民币。被限制高消费意味着他将无法乘坐飞机、高铁,不得在星级以上宾馆消费,子女不得就读高收费私立学校等。

谢孟伟近期新增2条被执行人信息。

直播事业屡受挫,账号状态一波三折

谢孟伟近年来将事业重心转向直播带货,但过程波折不断。此前,他因在直播中身穿仿制警服进行带货,引发广泛争议,最终被警方依法处以行政拘留。该事件也导致其多个平台的直播账号遭到封禁。

据媒体最新报道,其抖音账号目前仍可正常被关注和使用,然而其快手平台的账号目前仍处于封禁状态,可见此前不当行为带来的负面影响尚未完全消除。此番再度成为被执行人并背负巨额债务,无疑为其个人信誉和直播事业蒙上了又一层阴影。

截至目前,谢孟伟本人尚未就最新的被执行信息及债务问题对外作出公开回应。

扬子晚报/紫牛新闻记者 范晓林 陈哲 实习生魏静萱

视频剪辑 陈哲

校对 陶善工