“爱奇艺疯了”登顶热搜,张若昀、于和伟等艺人紧急发声,最新回应来了
来源: 21世纪经济报道
2026-04-20 19:06:00
4月20日,2026年爱奇艺世界大会上,爱奇艺CEO龚宇宣布,爱奇艺旗下平台纳豆Pro已与100+艺人签署入驻同意书,包括陈哲远、丞磊、曾舜晞等多位艺人,进入纳豆Pro艺人库,将开放AI授权合作。
龚宇提出,未来真人拍摄可能会成为非遗。他表示,演员长期高强度拍戏,三四个月连轴转,几乎没有个人生活,而AI可以让演员从一年拍4部戏提升至14部戏,也能让演员获得更多休息时间。
此外,龚宇还介绍了面向大众用户和业余创作者的AI创作工具“吃鲸AI”,与纳逗Pro形成互补。该工具简单易用,适合非专业用户快速生成AI内容,并支持短视频、短剧、漫剧等轻量化内容形态。
![]()
对此,不少网友直言,“疯了吧,以后观众也找AI吧。”“怎么不把资源ai了,不用充会员就可以任意看。”“有没有可能我们活人就喜欢看点活人的东西?”话题词“爱奇艺疯了”登上微博热搜第一,引发全网讨论。
![]()
![]()
随后,于和伟、张若昀、王楚然、李一桐等艺人团队紧急发布辟谣声明,否认签约AI授权。
![]()
![]()
对此,爱奇艺迅速发文回应“AI艺人库”相关争议:
纳逗Pro艺人库建立的初衷,旨在为AIGC创作者提供一个规范的平台,便于其在创作中遴选艺人,并通过爱奇艺与艺人方高效沟通合作细节。目前,已有100多位深度合作艺人同意入驻爱奇艺纳逗Pro艺人库。
需要强调的是,入驻爱奇艺纳逗Pro艺人库,代表艺人有接洽AI影视项目的意愿,但是否参加某个具体项目、是否出演某个具体角色,都需要进行单独的商谈和授权。这一流程与传统的真人影视项目合作流程是一致的。
AI与影视创作的结合尚处于探索阶段。未来,我们将在保护艺人、创作者、及观众等多方利益的前提下,积极拥抱技术变化,与行业伙伴共同探索这一未知领域的前行方向。
![]()
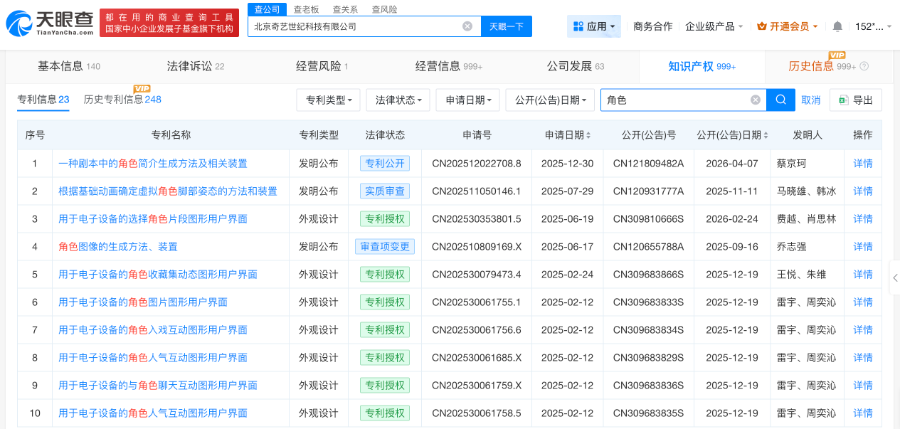
据天眼查知识产权信息,爱奇艺关联北京奇艺世纪科技有限公司已申请多个“角色”相关专利,包括“角色图像的生成方法、装置”“根据基础动画确定虚拟角色脚部姿态的方法和装置”等,当前专利法律状态多为已获授权。
![]()
记者|高雅宁