首页 > 新闻中心 > 房产

杭州溢价成交3宗宅地:华润39.51亿元竞得滨江区地块,溢价率46.83%

来源: 澎湃新闻

2026-04-08 17:01:00

澎湃新闻记者 计思敏

4月8日,杭州迎来3宗涉宅用地出让。根据成交结果,3宗地块均以溢价成交,最高溢价率超46%,共计收金约58.62亿元。

此次出让的3宗地块分别位于滨江区、余杭区、钱塘区,总土地出让面积为120987平方米,总规划建筑面积232165.15平方米,总起始价44.82亿元。

其中,杭政储出[2026]9号即滨江区襄七房单元FG04-R21-B22地块,该地块东至网商路,南至滨康路,西至空地,北至江二路。用地性质为住宅(设配套公建)用地,土地出让面积38442平方米,规划建筑面积96105平方米,容积率2.5,起始价约26.91亿元,起始楼面价27997元/平方米。

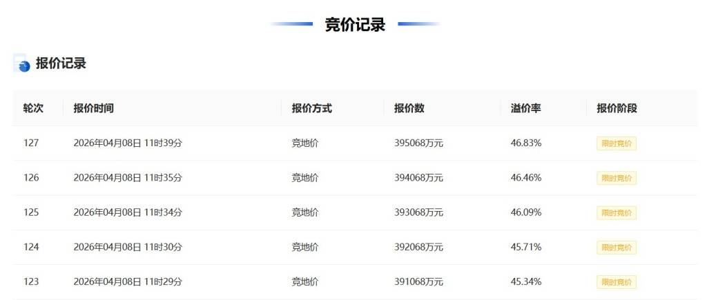
据中指研究院监测,该地块吸引了大家、滨江、绿城、保利发展、中海、华润等多家房企参与竞拍,在经过127轮竞价后,由华润置地旗下上海泓喆房地产开发有限公司以总价约39.51亿元竞得,成交楼面价41108元/平方米,溢价率46.83%,刷新板块地价纪录。

中指研究院华东大区常务副总高院生指出,该地块地处滨江互联网产业核心地带,交通便捷近5号线聚才路,周边集聚网易、阿里、华为等高新技术企业,具有极强的高端产业客群基础,且区域周边已供地空窗达5年,无存量可售,是本次土拍竞争最为激烈的一宗地块。地块周边2公里范围内目前无在售新房项目,对标周边的次新房晓月映翠、保利天汇项目价格,判断未来售价有望超6万元/平方米。

此次出让的另一宗地块为杭政储出[2026]10号即余杭区闲林单元YH120201-01地块,该地块东至公园绿地,南至怡景路,西至高教路,北至防护绿地。用地性质为住宅(设配套公建)用地,土地出让面积37235平方米,规划建筑面积39096.75平方米,容积率1.05,起始价5.02亿元,起始楼面价12840元/平方米。

该地块经过23轮竞价后,由保亿置业旗下杭州保亿亿航商业控股有限公司以总价6.12亿元竞得,成交楼面价15654元/平方米,溢价率21.91%。

高院生认为,与周边低密项目相比,2024年底出让的溪径恒庐项目(成交楼面价16112元/平方米)整盘均价在4万元/平方米以上,此次位置更优,成交楼面价更低,预计会有较大的盈利空间。

另有一宗地块则以低溢价成交。杭政储出[2026]11号地块即钱塘区东部湾新城单元QT020303-05地块,该地块东至规划道路,南至10号大街,西至规划道路,北至规划道路。用地性质为住宅、商业服务业用地,土地出让面积45310平方米,规划建筑面积96963.40平方米,容积率2.14,起始价12.89亿元,起始楼面价13293元/平方米。

该地块经过2轮竞价后,由杭州兴耀房地产开发集团有限公司、杭州滨钰房地产开发有限公司(兴耀房产和滨江集团)以总价12.99亿元竞得,成交楼面价13396元/平方米,溢价率0.78%。

高院生指出,今日首场土拍以30.8%的平均溢价率为二季度奠定积极基调。4月全月杭州计划进行4场土拍,共出让11宗涉宅地,总起价93.36亿元,区域覆盖滨江、拱墅、西湖、萧山等8个城区,后续市场热度能否从核心板块向外围扩散,将是观察杭州楼市复苏成色的关键。