首页 > 新闻中心 > 天下事

罗马仕新增16条被执行人信息,被执行总额超118万元

来源: 紫牛新闻

2026-04-14 18:31:00

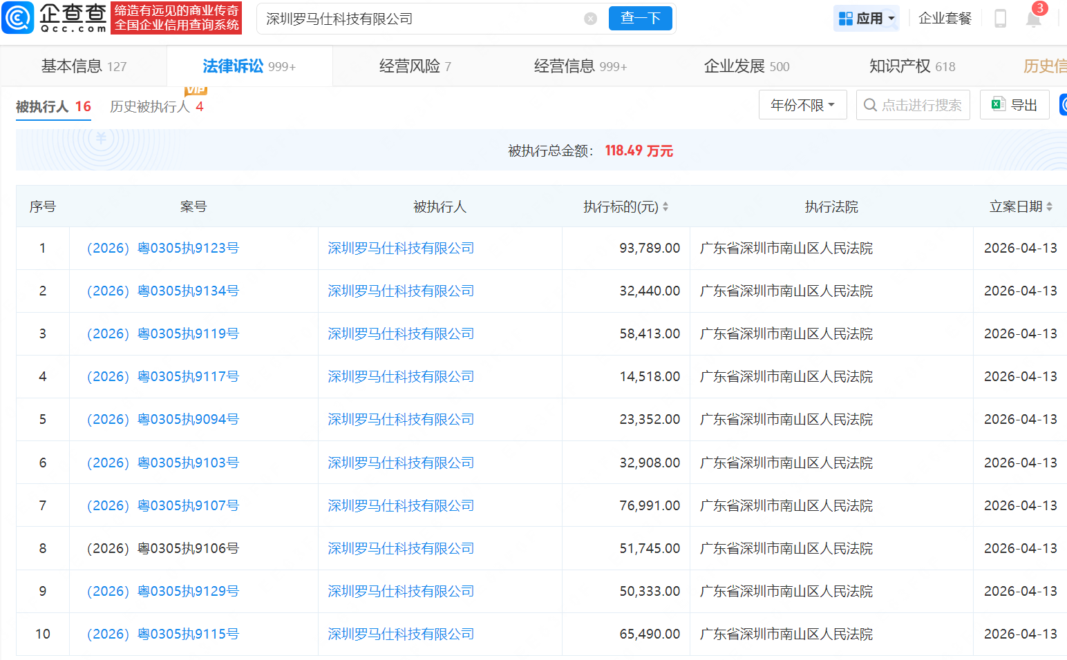
近日,扬子晚报/紫牛新闻记者从企查查获悉,深圳罗马仕科技有限公司新增16条被执行人信息,被执行总金额118.49万元,执行法院为广东省深圳市南山区人民法院。


企查查App显示,该公司成立于2012年3月,注册资本600万元,经营范围包含电子产品的研发、设计、制造与销售、电子产品配件及原材料的销售等。

据扬子晚报/紫牛新闻此前报道,阿里法拍平台显示,罗马仕旗下深圳华中科新材料技术有限公司所有的一批移动电源、充电线等资产将被司法拍卖,起拍价为205.1万元,评估价约为292.98万元,拍卖时间为4月19日10时至4月20日10时。企查查App显示,深圳华中科新材料技术有限公司成立于2019年3月,由深圳罗马仕科技有限公司持股约99%、法定代表人雷某某持股约1%,经营范围包括电子产品的研发及销售、国内贸易、物流信息咨询等。目前,该公司已成被执行人,并被限制高消费。

见习记者 鲁玥

校对 胡妍璐